一种冰雹参数测量系统,于2024年由bw西汉姆联通信工程学院(微电子学院)转让到四川普创众力科技有限公司,该公司位于中国(四川)自由贸易试验区成都市双流区黄甲街道双华社区广场巷68号。
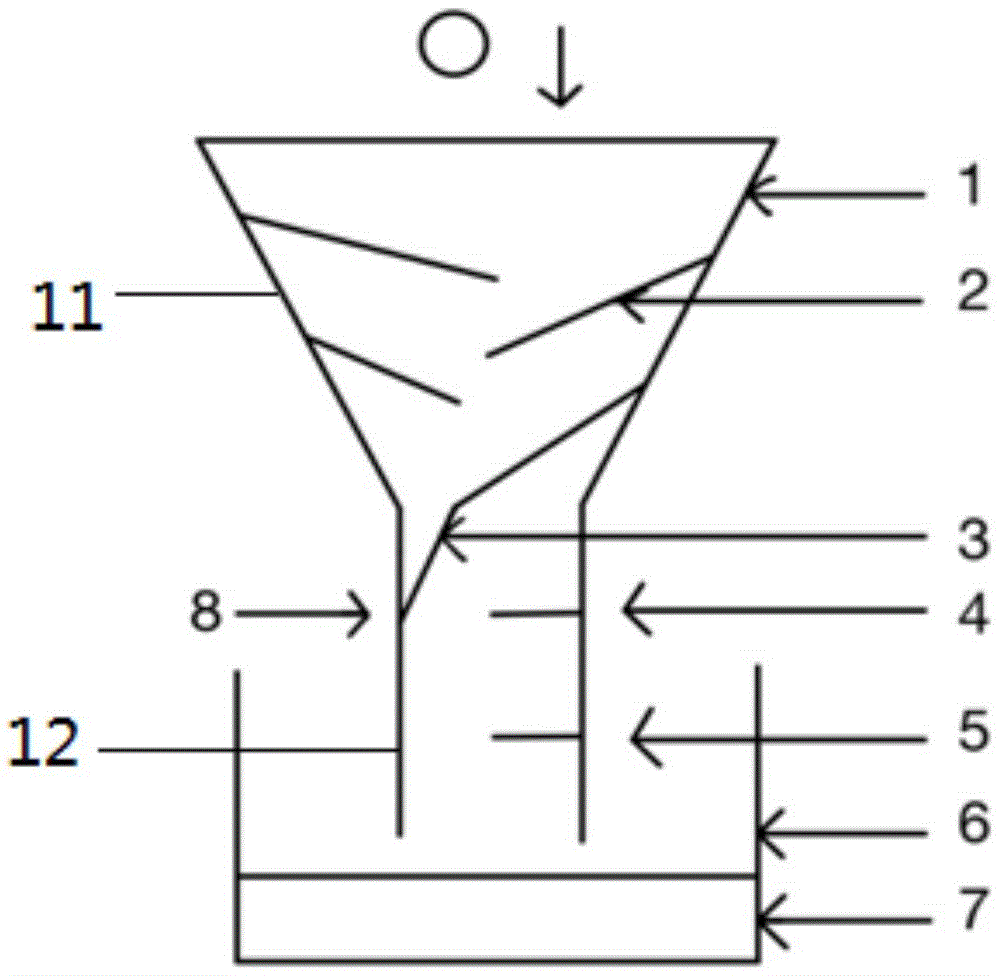
本实用新型公开了一种冰雹参数测量系统,包括漏斗型收集装置和MCU主控模块;漏斗型收集装置包括上部的漏斗体和底部的筒状体;漏斗体内壁设有多个缓冲板,最下方的缓冲板末端设有伸入筒状体内挡住漏斗体底口的软挡板,筒状体内壁与软挡板接触处设有触发挡板;触发挡板对侧的筒状体内壁上设有激光测距仪;激光测距仪正下方的筒状体内壁上设有红外对管;筒状体正下方设有收集盒,收集盒底部设压力传感器;触发挡板在冰雹通过时触发数据的采集;激光测距仪测得的冰雹直径数据,红外对管通对冰雹计数,压力传感器测得冰雹的总质量。本实用新型可收集落下的冰雹并且同时测量收集到的冰雹的总质量、直径和个数,且装置简单,测量准确,效率较高。
