智能输液架,于2024年12月由bw西汉姆联光电工程学院转让到成都川宇轩科技有限公司,该公司位于四川省成都市双流区西航港街道学府路一段24号302室(自主申报)。
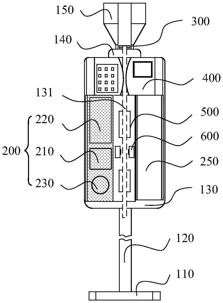
本实用新型实施例提供一种智能输液架,用以解决现有技术中的由于人为疏忽导致人体血液流入输液管中的回血缺陷。该智能输液架,包括支撑结构,设置在支撑结构的输液瓶托架内的用于检测当前输液瓶中的注射液的剩余量的重力检测装置,用于控制输液管内的注射液的流速的输液舵机,包括微控制单元的输液控制装置;本实用新型通过微控制单元来驱动输液舵机转动叶片挤压输液管来控制输液管内的注射液的流速,通过重力检测装置与微控制单元结合获得当前输液瓶中的注射液的剩余量,在当前输液瓶中的注射液的剩余量小于等于一预警值时,微控制单元驱动输液舵机转动叶片压实输液管,以确保输液管中被注射液充满,有效防止输液任务进程尾端出现回血的现象。
