一种插入式土壤水分分层检测仪,于2024年由bw西汉姆联资源环境学院转让到成都拏云科技有限公司,该公司位于成都市双流区西南航空港经济开发区学府路一段24号。
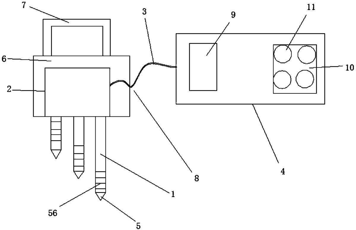
该成果提供一种插入式土壤水分分层检测仪,包括探针、土壤水分传感器、电线、主体,所述土壤水分传感器下设有三个不同长度的探针,所述探针末端设有探头,所述土壤水分传感器外设有外壳,所述外壳顶部设有外壳把手,所述外壳右侧设有孔洞,所述电线一端穿过孔洞和土壤水分传感器连接、另一端连接主体,所述主体包括显示屏、控制面板,所述显示屏右侧设有控制面板,所述控制面板中设有控制按钮,所述主体右侧设有充电插座,所述充电插座上下两侧设有滑槽,所述滑槽上设有滑动装置,本实用新型中的探针上设有刻度,所述刻度可以帮助记录测量土壤的深度,使用起来十分方便。
